My So-Called Career/2
Polaroid
During the 1960s and ’70s, Polaroid was the coolest technology company on earth. Like Apple, it was an innovation machine that cranked out one must-have product after another. Led by its own visionary genius founder, Edwin Land, Polaroid grew from a 1937 garage start-up into a billion-dollar pop-culture phenomenon.
— from Instant: The Story of Polaroid, Christopher Bonanos 2012
Edwin Land
We associate the name Polaroid with instant photography, but the original goal of the company was eliminating the glare of oncoming automobile headlights using polarizing screens. In a beam of light, the electric field oscillates in a plane perpendicular to the direction of the beam. There are many possible directions in that plane – up and down, left and right, etc. – and ordinary (unpolarized) light contains a mix of all those directions. But certain crystalline materials, called dichroic, selectively absorb one of those directions, so the light transmitted through them is polarized, the electric field vibrating in the same direction. A second dichroic filter at right angles to the first absorbs that polarized light. As you rotate the second filter it goes from transparent to black and then transparent again.
As a high school student, Edwin Land was fascinated by this phenomenon. He had a lab at home where he tried to grow these dichroic materials, and shortly after entering Harvard as a physics undergraduate he dropped out to continue that research. Automobiles in the 1920s were becoming common, and there were many accidents caused by drivers at night blinded by the headlights of an oncoming car. Land believed that using polarizing material in the headlights and windshields could eliminate this hazard.

He re-entered Harvard to continue his work on the problem. Land was so intent on creating practical polarizing material that his instructor George Wheelwright got him his own lab. Wheelwright was the son of a wealthy factory owner, and soon they both left Harvard to set up their own company.[9]
[9] Even though he was a college dropout, after he received honorary doctorates later in his career everyone addressed him as Dr Land.
Land had the ideas and Wheelwright had the money. Land’s style was to try an endless variety of experiments to get closer to ideal performance. At first, he tried various ways of growing polarizing crystals large enough to work, but they had to be grown too slowly to be commercially viable. Then he went the opposite route, creating the tiniest polarizing microcrystals on a clear plastic sheet, aligning them in the same direction, and then stretching the sheet. This was the method that ultimately worked, and Land patented the idea.
Polaroid Corporation had its IPO in 1937. Land never did succeed in getting the big auto makers to adopt his material for reducing headlight glare. Another company had patented the idea of using polarizers for that purpose, although they had no idea how to create the polarizing material. Polaroid’s first big commercial success was polarized sunglasses, which removed glare. In World War 2, polarizers were used in goggles, gunsights, and reconnaissance cameras, and after the war polarized glasses were used to view 3D movies.
Instant Photography
According to Land, the idea of instant photography came to him during the war:
One day when we were vacationing in Santa Fe in 1943 my daughter, Jennifer, who was then 3, asked me why she could not see the picture I had just taken of her. As I walked around that charming town, I undertook the task of solving the puzzle she had set for me. Within the hour the film, and the physical chemistry had become so clear that I hurried to the place where a friend was staying, to describe to him in detail a dry camera which would give a picture immediately after exposure…four years later, we demonstrated the working system to the Optical Society of America.
— Edwin Land, LIFE Magazine 1972
To understand how instant photography works, it helps to understand regular wet process photography. The film is an emulsion of microscopic silver halide grains in gelatin. On development, grains that have been exposed to light in the camera are reduced to metallic silver. An acid bath stops the development process, and then a fixer solution washes away the undeveloped grains, leaving a negative image. Later, using an enlarger, light focused through the negative similarly creates a positive image (negative of the negative) on paper. In Land’s instant photography, the negative and positive sheets are squeezed together (along with a thin layer of developer) between rollers in the camera, and instead of washing away, the undeveloped silver transfers and sticks to the positive sheet. After a minute or so, the negative sheet is pulled off and discarded.
The first images using this technique were created in 1947. They were pale, sepia in tone, and tended to fade. Creating photos with neutral gray tone, good contrast, and long life took many years of continuous experimentation and improvement. Land entrusted this work to Meroe Morse, an energetic young woman recently graduated from Smith College in art history. She had no background in physics, chemistry, or photography, but she understood Land’s intentions and style. Her lab worked nights, weekends, and holidays for years to perfect the black and white film. Land always wanted just one more experiment before going home for the night.
Morse’s role at Polaroid grew steadily over the years. The laboratory she oversaw grew in the push for faster and faster films, for transparencies, and for films yielding a negative as well as a positive… In a time when few businesses accepted women in positions of responsibility, Land welcomed and brought along the work of ambitious and creative women… They participated vigrorously in Land’s “sun and satellite” system of research management, where people, including Land, freely lent a hand as satellites on each other’s projects.
— from Insisting on the Impossible: The Life of Edwin Land, Victor McElheny 1998
Morse was also the liaison between Polaroid and Ansel Adams, as well as with other famous photographers, who got free film in exchange for contributing work to the emerging Polaroid Collection. While she had no technical background, she was awarded 14 patents and named a Fellow of the Society of Photographic Scientists and Engineers before her life was cut short by cancer in 1969.
The next step after instant black-and-white was color, a much harder problem. It was solved in the 1950s by Howie Rogers. In 1936, Rogers had finished one year at Harvard but, having run out of money, was pumping gas in Brighton MA. His brother worked at Land-Wheelwright, and even though it meant a cut in pay, Howie joined him. Many years later,
… after achieving the startling advance that made possible the first instant black-and-white photography, Mr. Land summoned his friend and associate, Howard C. Rogers, and told him to sit down ”and think about color.” For several years, he ”simply sat, and, saying very little, assimilated the techniques we were using in black and white,” Mr. Land relates in a collection of his papers recently issued by Polaroid. ”Then one day he stood up and said, ‘I’m ready now.’ ” A color laboratory was built and color film produced. ”My point is,” Mr. Land writes, ”that we created an environment in which a man was expected to sit and think for two years.”
— from New York Times, 1983
Rogers’ invention was a set of molecules that acted as both a color dye and developer. Color photography uses three dyes – magenta (white minus green), cyan (white minus red), and yellow (white minus blue). The peel-apart Polacolor film worked similarly to black-and-white in that the unexposed dyes migrated from the negative after development and stuck to the positive sheet.

Land’s ultimate goal, however, was integral instant film that did not require peeling apart. That was the SX-70 system that debuted in 1972. It required very different chemistry from peel-apart. There Rogers had the idea of inserting a white opacifying layer between the positive and negative that would appear on development. The negative image would stay in the print, but you wouldn’t see it because it was behind the white layer. The print would just magically appear as you held the picture in your hand.[10]
[10] Because Rogers wasn’t sure his process would work, he also conceived of a completely different alternative that in some ways he liked better. Tooling for the original process was too far along, however, so the alternative was not implemented. Ironically, it was his patent on the alternative process that won Polaroid’s lawsuit against Kodak’s instant photography product in 1981.

The SX-70 camera was as magical as the film. Remember, there was no enlargement, so the camera had to be as big as the print, but small enough to carry around easily. The SX-70 camera was folding single lens reflex (SLR) with an ingenious optical path featuring off-axis aspherical optics, totally unheard-of at that time. The camera design won it a place in the Museum of Modern Art.
SX-70 was typical of Land in that he envisioned the final product from the start, years before anyone knew how to create it, and insisted that it had to be exactly that way. His frustration with Polaroid Engineering ultimately led him to set up a special SX-70 engineering group on the 9th floor of 565 Tech Square under Cliff Duncan and Dick Wareham, plucking top talent from the Engineering division without consulting their managers. Regular Engineering and even COO Bill McCune were banned from the 9th floor. Land’s special treatment of “his guys” led to resentments in regular Polaroid that ultimately worked against me in my career.
Land’s Guys
Even though these stories predate my arrival, I mention them because the Polaroid I joined in 1976 was nothing like the portrait of corporate research imagined at MIT. In fact, the people I worked with were more brilliant, more creative, collaborative, and generous than anyone I’d known at MIT. Some had advanced degrees, some had never gone to college. Degrees didn’t matter, just hard work and creative spirit. But I also realize now – although I had no idea then – that my colleagues were special, not regular Polaroid. They were “Land’s guys.”
For example, Steve Benton, who worked on white light holography, from his Wikipedia page:
Benton first became interested in optics at 11 when he wore a pair of 3-D glasses to view the Vincent Price movie House of Wax. He recalled, ”There was a realism and a sense of excitement like nothing I had ever felt before. Not only was I amazed, I determined then and there to figure out how it worked”.[1] Benton received his undergraduate degree from Massachusetts Institute of Technology in electrical engineering (1963) and worked with Professor Harold “Doc” Edgerton, a pioneer in stroboscopy. During his undergraduate career, Benton also worked with Edwin H. Land, the co-founder of Polaroid Corp. and inventor of instant photography, in the company’s vision research laboratory….
In 1968, Benton began working on the rainbow hologram or the Benton hologram, at Polaroid Corporation. Rainbow holography makes use of common white light to visualize holograms rather than lasers, thereby leading “holography out of the lab”. This type of hologram is commonly seen as the dove on the VISA card. Since the rainbow hologram was very easy to mass-produce, today credit card companies and state agencies widely make use of rainbow holograms to deter counterfeiting of credit cards and identification cards…. [After Polaroid he went to MIT, where he] was the founding head of the MIT Program in Media Arts & Sciences from 1987 to 1994 and became the director for the Center for Advanced Visual Studies (CAVS) in 1996. He remained the director of CAVS until his death in 2003.
Land had strong opinions about education, which he felt spent too much time on book-learning and not nearly enough on open-ended experimentation. He also believed that the ideas of top professors should be available to the people, not locked up in the academies. He had the idea of making their lectures publicly available as movies. He hired Stewart Wilson to develop further his MIT dissertation on interactive lectures. Stewart doesn’t have a Wikipedia page, but this is from his long list of publications:
Wilson, S.W., “Interactive Lectures”. Technology Review, vol. 74, no. 3, January, 1972. The interactive lecture system (U.S. Pat. 3942268 inter alia) used voice recordings and a sketching device to allow an individual to learn from and ask questions of articulate experts such as Carl Sagan. The system anticipated many elements now part of Salman Khan’s excellent Khan Academy and in addition uniquely included the ability to ask questions.
Land, E.H., and Wilson, S.W., “Education and the Need to Know”. Technology Review, vol. 69, no. 3, January, 1967. Experiments in which an individual teenage student would interactively question and direct an apparent machine containing recordings by experts in astronomy, physics, and other subjects. The expert was in fact in another room, so that it was possible for the student to go in practically any direction in the subject. Results showed long periods of interaction, fascinating questions and directions of inquiry, and an evident freedom encouraged by the student’s belief he/she was dealing with recordings and not a live person. The paper summarizes the second author’s MIT PhD thesis. The work led to the interactive lecture system described above.
Land also had a strong interest in the neuroscience of vision. He hired John McCann, a biologist from Harvard, as head of Polaroid’s Vision Research Lab to investigate Land’s Retinex theory of vision. Conventional vision theory says we perceive color via the relative proportion of red, green, and blue light sensed by rods and cones in the retina. But Land noticed that even if a scene is illuminated with strongly colored light, our vision adapts and we still perceive a full spectrum of colors. For example, the superposition of two black and white images of a scene, one taken through a green filter and projected with white light and the other taken through a red filter and projected with red light, is perceived in full color, including rich greens and blues. In the lab, McCann performed digital image processing experiments with a DEC PDP11 computer, the first real computer I had ever seen! From SPIE News:
McCann developed systems that capture natural scenes, calculate appearances, and write the computed image on media. These systems convert 1000:1 ranges found in scenes to 30:1 ranges usable in prints. The ratio-product-reset Retinex model simulates what a painter would do to reproduce a scene. His Polaroid work began with photography, progressed to paper collages with controlled illumination; then to computer-controlled images and electronic imaging. He set up Polaroid’s first digital imaging laboratory in 1975. He developed and patented efficient algorithms for making spatial comparisons among all pixels in an image, an early form of pyramid processing. At Polaroid he published more than 60 papers and nine patents on color sensations from the interaction of rods and long-wave cones; display size dependence of human MTF; color constancy and Retinex Theory of color vision.
Another of John McCann’s projects was the Polaroid 20×24 camera, a special large format device used to make museum-quality photos of artwork on Polacolor film. It was also used by famous artists and photographers, including Andy Warhol and William Wegman. The same technology was used on an even larger scale, a room-sized camera (true camera obscura!) used to make actual size photographs at the Boston Museum of Fine Arts and later to photograph Raphael’s Transfiguration in Rome.

Bill Wray, who worked for McCann, never went to college nor has he left any biographical trace today on the Web. Nevertheless he was the most brilliant person I ever worked with, at Polaroid or anywhere else. He was an electronics genius and could design and build any kind of circuitry or instrumentation. He and I were to collaborate intensively in my first three years at Polaroid.
Bill and I also shared an interest in photography as an art. He invited me to join the Polaroid Collection Committee, which ran the Artist Support Program started by Meroe Morse in 1969. The committee was about a dozen volunteers, some from Research and some from Marketing. Participating artists would get free film and four times a year submit images for purchase by the Collection… for which we paid the princely sum of $50 each. We would hold exhibitions in Polaroid’s Clarence Kennedy Gallery, and I got to know many of the artists. I have pictures by one of them, Christopher James, hanging on my walls today.
Polavision
The secret project I was hired to work on was instant 8mm movies, launched in the spring of 1977 under the product name Polavision. You don’t hear much about it today, and with good reason. It was a total disaster, ultimately driving Land from the company he founded. In fact, the part of it that involved me has been written out of the history books altogether. So let me tell that story.
Polavision was many years in the making. It was developed at the same time as SX-70, with Lucretia Weed playing the Meroe Morse role of continuous testing and experimentation.[11] Land strongly believed in it, although others like McCune did not. The 8mm movie business was actually declining, and in 1976 Sony introduced Betamax, the first consumer-level video cassette recorder and the final nail in the coffin.
Unlike normal color photography (including Polaroid), Polavision did not use subtractive dyes (magenta, cyan, yellow) but instead used additive colors – red, green, and blue, like in color television. The film had alternating fine stripes of red, green, and blue filters – 1500 triplets per inch – overlaying a black-and-white positive transparency. Just making the film was a tour de force. As seen in the diagram below, tiny cylindrical lenses called lenticules coated on clear plastic film were used to focus light of one color onto a layer of colored gelatin, hardening it to form a set of filters on the film. The lenticules were then washed away and the process repeated for each of the other two colors, then the light-sensitive silver halide layer added. All of this was done continuously at high speed on the so-called Land Line in Norwood.
[11] One of Lucretia’s testers, Barbara Hitchcock, later joined Eelco Wolf of International Marketing when he took over and professionalized the Polaroid Collection. Barbara greatly expanded the Collection with works from many famous photographers, and for many years served as its Curator and author of books about it, long after the original Polaroid was long gone.

The project called for manufacturing on a big scale. Otto Wolff and others bent their ingenuity to create the “Land Line” in Norwood, Massachusetts, with clean rooms, computer controls, laser knives, and a system for moving the film “like an iridescent snake” at high speed “on jets and cushions of air.” To [marketing VP] Wensberg, it was “one of the most technologically imaginative factories ever built.” The Land Line was “proprietary, revolutionary, secret, and extremely expensive.” Too expensive. Polaroid planners confronted the awesome fact that “no reasonable combination of unit price or production quantity could begin to bite into the investment.” They were putting a film on the market knowing that it would lose money, no matter how popular it proved to be. “From the beginning, the instant transparency was characterized as a monumental product. The need for massive manufacturing capability was never questioned by its designers.”
— from McElheny
The film was sealed inside a cassette. After exposure, it would be inserted into a slot in the player, which looked a bit like a small television set with a rear projection screen. Upon insertion, rewinding the film unsealed the developer, which was wiped over the rewinding film. A few seconds after rewinding, the film began projecting in the player. Like other Polaroid products, the whole thing was designed for simplicity and ease of use.

Polavision was unveiled to the world at the Polaroid Shareholders Meeting in April 1977. It was held in the large Polaroid warehouse in Needham, and it was always a special event. Wall Street analyst Brenda Lee Landry called it “the best show on or off Broadway every year.” At this one, organized by John McCann, after demonstrating the filming of a dancing Carmen, the 4000 in attendance were herded to a circus midway constructed behind the stage where they could film various scenes of actors, jugglers, and such themselves.

Scientist
When I began at Polaroid, my job title was simply Scientist. I technically worked for Stew Bennett, a physics graduate about 10 years older than me. He had recently been tasked with responsibility for the Polavision hardware – the camera and instant movie player – which were being manufactured by an Austrian company, Eumig. Stew didn’t have any immediate pressing assignment for me. I didn’t even have an office, so I camped out in a conference room learning the basics of color photography and the process of color reproduction. I am guessing that with his new assignment, Stew just needed “a guy,” someone who could take on hardware projects as they came up.
Here is one that I found in my files. I don’t even remember it. The question was whether light emitting diodes (LEDs), which were new at that time, were bright enough to be used for focusing the movie camera at a distance of 10 feet. It was some optics calculations, as you see here. My conclusion was the brightness was marginal at that distance. Note that the report was in longhand, as was typical back then. This was before word processors, before PCs. Normally handwritten reports would be typed up by secretaries, but with all the Greek symbols here that wasn’t an option.

Scanning Slide Copier
A more substantial project was a scanning slide copier. In addition to 8mm movie film, Polavision film would be sold as slide film for 35mm cameras, and my challenge was making good Polacolor (instant color) prints from them. I designed and built a device to do this, although it was never made into a product. I found a patent disclosure I wrote about it in June 1977, although I don’t recall getting the patent:
Scanning Slide Copier
Abstract
A device which makes Polacolor 2 instant prints automatically from color slides has been constructed and tested successfully on a large variety of slides. The device uses the technique of raster scanned illumination and point-to-point exposure correction in real time.
***************
Printing color slides directly without use of an inter-negative is always an arduous task, even using conventional materials. The dynamic range in reflection prints is an order of magnitude less than in transparencies, yet gammas in both slide and print materials are maintained high to prevent severe color desaturation. Consequently, when a print material such as Polacolor 2 is used in a conventional arrangement for slide copying, the result is often blocked highlights and loss of shadow detail.
Information present in the slide can be made to fit within the dynamic range of the print if different parts of the slide are given different exposures. A slide copier based on this principle has been constructed and tested on a large variety of slides.

The copier (Figure 1), in its simplest form, consists of an illuminator, a mechanical raster scanner, a slide holder, beam-splitter and silicon photodiode, followed by the copy camera itself. The raster scanner, driven by two small stepping motors, allows illumination of a small portion of the slide, and the photocell detects the average density of that portion. The photocell output is processed through an electronic logic block which controls the travel rate of the raster scanner.
Since dynamic range compression is generally desired, higher slide densities cause a slower scan rate. The prototype device regulates on the condition
Scan rate (steps/sec) = constant x 10 4D
where D is the slide density. With this algorithm a wide selection of 35mm slides varying in lightness, contrast, and color was found to produce good quality prints on Polacolor 2 automatically, without adjusting exposure level for each print. Compared to prints made from the same slides made by the quenched strobe technique, the scanned copies consistently show more saturated colors and significantly greater shadow detail.
A second mode of regulation has been used in an earlier prototype and could be incorporated in future models Instead of a variable scan rate, the scanner is driven at a fixed rate and a motor-driven aperture stop behind the copy lens is used to vary the exposure according to the equation
2 log (f/number) = constant – 4D
with essentially identical results.
Color correction is also possible using the scanning technique Three photocells with red, green, and blue filters could provide color information which would be used to control a variable color correction filter during exposure. Alternatively, by making three separate exposures through red1 green, and blue filte4 full color electronic masking (including off- diagonal terms) can be achieved. Once the correct transformation is found, it could be programmed onto a single chip.
Polavision Sound System
Meanwhile, sales of Polavision were substantially below projections. To be honest, its critics were right: The system was not very good. Part of the problem was the additive color process, since it filtered out 2/3 of the light on exposure, making the film speed slow[12], and again on projection, making the image dark on the screen. But the thing that got blamed the most – by Land, in particular – was the absence of sound, which was a standard feature of conventional 8mm movie systems.
[12] ISO 40 was claimed, but I think more like half that.
This is where Bill Wray and I have been written out of the history. Here is how McElheny describes the situation:
Eventually, the Polaroid engineers hit on the trick of rolling a distinct magnetic sound tape with the film tape and pulling them apart a tiny distance for part of their journey from one spool of the cassette to the other. When the system was demonstrated at a shareholders meeting, the sound was of “unprecedented fidelity.” But by then, Polaroid’s instant movies had died in the marketplace.
What actually happened is this. Land had been pounding on Polaroid Engineering for years to get sound working. In 8mm movies, audio was recorded on a thin magnetic strip on one edge of the film. But the extra stiffness of the Polavision film, in combination with the layer of “goo” that got spread on the film in development, prevented good contact of the tape head with the magnetic strip. In short, the engineers never got it to work.
Dr. Land decided he would solve it himself. It was Land, not the engineers, who had the idea of rolling up regular mag tape along with the film inside the cassette. It was unknown whether this could possibly work, but on New Year’s Eve Bill Wray, Dr Land, and I did the first experiment. We ran a freshly developed cassette with its top cut out in the player, with the mag tape running over a pencil held in the air. It seemed to run smoothly without snagging. A successful first experiment!
This was my first time working directly with Land on something he really cared about, and I quickly found out what that meant. Bill and I came in the next day, New Year’s 1978, to continue working on this. In fact, we worked on it 10-12 hours a day, 7 days a week for the next four months. Land was hell-bent on demonstrating Polavision sound at the 1978 shareholders meeting.
For that we just tackled the playback portion; recording in the camera would come later. Bill worked on the audio circuitry. He was an audio genius, and our lab was piled high with preamps, equalizers, speakers, and all kinds of fancy stereo equipment. Unlike 8mm movie film, which was mono and lo-fi, we had a full 8mm wide tape to work with. Our sound would be stereo high fidelity.

We worked in Land’s back lab at 2 Osborn Street in Cambridge, an old 2-story building where Alexander Graham Bell had made his first phone call in 1876. Land had his formal CEO office a block away at 549 Tech Square, the company headquarters, but he never went there, preferring the back lab. John McCann and Lucretia’s team were there as well, and Howie Rogers was upstairs. That became my workplace as well for the next 2½ years.
My part of the project was synchronizing the sound with the picture. A key constraint was we could not modify the inside of the player. Our unit needed to sit on top, pulling film and tape out of the back of the cassette, separating them so that the tape could pass smoothly over the playback head while the film was jerked 18 times a second by the takeup reel inside the cassette. It was crazy; we worked nights and weekends. I remember driving to Acton, some 50 miles away, late one night to pick up a dynamically balanced flywheel some guy had custom made for us. On weekends we were allowed to go in Land’s office and raid the fridge for leftovers that his personal chef Caroline Pearl had made.
In that phase of the project all the control circuitry was analog. As playback began, we had to drive the film and tape out of the back of the cassette faster than it was being pulled in by the takeup reel, making a small loop. A lightweight flag sat on top of the film loop and triggered an optical sensor to keep the loop at the right size. Separately we had to drive the tape very smoothly past the playback head, as the slightest variation in speed would be audible as wow and flutter. In other words, we had to pull out the film and tape faster than takeup initially, but very quickly slow it back down to match the takeup speed, and do that so there was no variation in tape speed once the sound started.

As the shareholders meeting approached, it was down to the wire. On the day of the meeting, the warehouse in Needham was hooked up with the finest amplifiers and speakers that reached up to the ceiling. Coming from our tiny lab setup, it was awe-inspiring. But scary as well: Getting the system to create the loop quickly and then go immediately to constant speed always required fine tuning to avoid a sickening wow at the beginning before the tape speed settled down. Our test cassette had a recording of Emmy Lou Harris “If I Could Only Win Your Love”, a country song I particularly liked. Land was an opera guy; once the system was tuned up we would record that one.
As you might expect, things did not go as planned. We were in a room behind the stage. Without warning, the A/V guys switched us from our test speakers in the back room to the giant speakers in the main hall. People were filing into the meeting, so we had no time to record our opera cassette. It was Emmy Lou or nothing. Fortunately, in the grand demo Emmy Lou sounded fine – in fact, great! – but Land had to say something about the music choice demonstrating the youth of his developers.
For Dr Land, that demo was the main event for the 1978 meeting, but instead history notes that meeting as the unveiling of the OneStep camera, McCune’s baby, a cheap plastic non-folding version of the SX-70. Land hated the OneStep. He considered it an abomination, although in the wake of the financial debacle of Polavision it probably saved the company.

As the history books tell it, in spite of our success Polavision was already dead. But Land insisted we had to finish the job and get Polavision sound working in the camera… in time for the 1979 shareholders meeting.
A colleague on the Polaroid Collection Committee, Rogier Gregoire, was currently the liaison with Ansel Adams. As part of his long-running relationship with Polaroid, Ansel offered the company a few special slots at his annual summer workshop in Yosemite. Rogier invited me to go, and Stew Bennett allowed it (after not allowing it the previous year).

To a lover of photography, this was the event of a lifetime. Check out the list of instructors: Ansel Adams, Jim Alinder, Barbara Crane, Mary Ellen Mark, Lee Rice, Alan Ross, John Szarkowski, John Sexton, Al Weber. If you know anything about fine art photography, you know many of these names. I knew Alinder, Ross, and Sexton from the Polaroid Collection. Szarkowski was the director of the department of photography at the Museum of Modern Art. He gave a slide lecture one evening that was a major tour de force. I bought a picture from one of the students that I still have on my wall. It was an unforgettable week, and I felt that after the work I had done I deserved it.
Back at work, my memories of the following year are not as distinct. We got nights and weekends off, fortunately. This time we got the help of some brilliant mechanical engineers from Dick Wareham’s group on the 9th floor. Bill Wray focused on developing an inexpensive but great sounding stereo microphone, while I worked on synchronization and overall system control.


This time we went digital. In 1978, microprocessors were brand new, but that became my part of the effort. We used a Rockwell 6500/1, a single-chip microcomputer based on the processor used in the Apple I. I programmed it in assembler – machine language, basically – to perform all control functions for recording and playback. Did I know anything about computers or programming? Of course not! But physicists just figure it out… The system diagram and first page of documentation are shown above. Looking back on it now, I’m actually pretty impressed.
Although there is no record of it in the history books, we were in fact again center stage at the 1979 shareholders meeting, as reported in The Polaroid Newsletter.

The sound on playback was magnificent. The Polavision picture… well, not the best.
By that time, we knew it was all over for Polavision. In July 1979, the company announced “a careful review to determine the best basic approach to the overall Polavision program, which continues to represent a substantial call upon cash and earnings.” The auditors insisted Polaroid write off a substantial inventory of unsold players and cameras, to which Land objected strenuously. In September the company wrote off $68 Million and began laying off workers, the first such in Polaroid’s history. Land was so furious with McCune that he tried to get him fired. Instead, it was Land who was asked by the board to step down as CEO.
Land had already prepared the way for his exit by selling a portion of his Polaroid stock to build a new lab along the Charles, the Rowland Foundation, to continue his vision research. Over the next couple years, many of the key Land guys – McCann, Stewart Wilson, Bill Wray – joined him at Rowland. Now I had to figure out what to do myself. I was 30 years old.
Marketing
All that time I was hunkered down in the lab I had the idea that at Polaroid, it was marketing people that had it made. They wore fine clothes, traveled to exotic locations, partied with models. And it seemed like easy duty. My new girlfriend had formerly been director of the Clarence Kennedy Gallery but now was working in marketing doing liaison with the various freelance photographers, models, and producers the company used in their advertising. One day, one of her producers was taking her out to lunch, and I was invited to go along. It was Maison Robert, at that time the best French restaurant in Boston. The guy ordered a bottle of Chateau Palmer, expensed it to the company, and we had a lovely afternoon. At that moment I knew I’d like to give marketing a try someday.
In early 1980, that time had arrived. But I was a techie not a marketing guy. A job opened up in a new application development group created to find expanded uses for Polaroid’s peel-apart film. While the integral SX-70 film was aimed at the mass consumer market, there was still a lot of demand for the more profitable peel-apart film in technical applications: microscopy, medical imaging, computer graphics, graphic arts proofing, etc. I joined that group, headed by Terry Milligan. Besides Terry there were just two others in our group, both Harvard MBAs. We wore suits and ties to work, visited customers and partners, exhibited at trade shows. In 1981 we were absorbed into the Business Planning department in Polaroid Marketing. Around that time, personal computers made their first appearance in the workplace, mainly to run Visicalc – later Lotus – spreadsheets. We used it to write business plans. It was OK, nothing too exciting. At least we worked normal hours.
The following year, Polaroid created the new TechPhoto division to focus on that business, headed by Peter Wensberg, longtime SVP of Marketing. Then things got more interesting.

Meanwhile, it was at that time that I met Junell. In 1981, following a trip to Negril, we moved into a rented farmhouse in lovely Lincoln, MA. We lived two doors away from Ken Olsen, founder of DEC (where she later worked), and a quarter mile from An Wang, founder of Wang Labs (where I later worked). Behind our house was an open field, and beyond that the Pierce House, where Junell and I got married in 1982. On Patriots Day, minutemen firing muskets would go tromping through that field on their way to Concord. Even though it was only 10 miles from Cambridge, Lincoln fancied itself a village in Vermont. For example, our mailing address was just Trapelo Road, Lincoln, no street number. The mailman knew who lived where. If I could choose anywhere to live in New England, it would be Lincoln.

In the applications development group at Polaroid, I was the only one with any technical background, so on trips to partners in the electronics field (where Polaroid was used as hard copy), I was asked to do technology scouting. On a trip to Japan in 1981, I noticed that the development of ink jet printers was making surprising progress. Prior to that, ink jet dots were binary, either on or off. You could not control the amount of ink in each dot. That was fine for pie charts but not continuous tone photography. To create shades of color you needed a combination of dots next to each other, so you had to give up resolution to get a smooth range of colors. There was no threat to Polaroid in that. But visiting Canon’s lab I saw their new Bubblejet printers, in which a dot of ink could vary in intensity, giving continuous tone without loss of resolution. And those greens! In Polaroids they always had a sickly blue cast, but in the Canon ink jet pictures they were beautiful. I knew right then, in the back of my mind, that Polaroid was doomed.
Japan was an interesting place in the early 1980s. They were absolutely kicking America’s ass in anything to do with consumer electronics. They not only had the best technology, but they had kept their currency artificially low, 255 yen to the dollar.[13]
[13] A few years later, Reagan forced them to revalue their currency to around where it is now, about 120 to the dollar. That greatly helped American business, but Japan still has not recovered.
In 1982 Wensberg put on a weeklong TechExpo in Japan, which I helped set up and support. The flight was 14 hours nonstop from New York. In those days, smoking was allowed beyond a certain row, and the Japanese smoked like chimneys. I had the flu and was seated in the last non-smoking row. When I got to the Okura Hotel I climbed immediately into bed and stayed there 36 hours.
Back in America, Wensberg was interested in a Southern California company called Image Resource. They made a device that captured SX-70 prints from video. The company had connections with video technology experts at Technicolor and similar Hollywood companies, so they could control the image to make good looking prints. (This was all analog; digital image processing didn’t exist yet.) This kind of technology put me back in my comfort zone, and Peter Wensberg asked me to accompany him on a visit to the company. Even though Image Resource was in Westlake Village, 50 miles away, we stayed at the Beverly Hills Hotel. I remember having martinis in the Polo Lounge thinking, yes, this is what marketing is really like! I must have liked what I saw at Image Resource, because Polaroid wound up buying the company.
With all the new excitement around consumer electronics and personal computing, I was tasked with a research project for the executives, summarizing what was happening in that area, where it was going, and what that meant for Polaroid. The effort was chartered by Cliff Duncan, an Engineering VP recruited to Polaroid from the space program and whom I knew from my work on Polavision audio. I was to deliver my report to Duncan and Bill McCune, who was now the CEO. This took me a solid two or three months, and then I had to present my report to the executives.
Polaroid at that time was feeling defensive. Land had left, and there was the fear that instant photography was no longer fresh and exciting. There had been talk of Polaroid maybe getting into magnetic tape or floppy disks, a good fit with the company’s experience in coating plastic films but, you know, not that exciting. On the other hand, Sony had come out with an electronic still camera. That was a real threat, but also an opportunity for Polaroid, as was ink jet printing, especially as Canon’s printers produced much better color than Polaroid film. I described the landscape and the options. I hoped they would go big. So what did the company do? They went into mag tape and floppy disks, naturally. Hopeless.
At the end of 1982, Wensberg announced he was leaving Polaroid to become CEO of Atari in Sunnyvale CA. Atari was known for video games, but Peter had a new idea, something he predicted would cause a revolution in consumer electronics. What was it? Telephones! He was working with design people at Porsche and had all kinds of ideas for new phones with innovative features that everyone would want to buy. He invited me to join him. Atari had a lot of technical guys – much more knowledgeable than I – but I was the one he knew and trusted.

In many ways it was the perfect time to go. Polaroid was headed for a crash landing. I had an in with the top guy in a hot company in Silicon Valley, where new things were definitely happening. On the other hand, I was newly married, with an instant family. We’d just bought a house in Weston, the priciest town in the Boston area. I didn’t think I could take the risk. Also, the real estate prices in the Bay Area were, even then, far higher than Weston. I wouldn’t be Peter’s neighbor in Woodside. More like Fremont. Plus, phones??? Who would ever think that phones could be a revolutionary consumer product? I turned it down.
Digital Photography
It turned out Polaroid was getting an electronic still camera program underway in Engineering, and in early 1983 I decided to join that instead. It was in the Engineering R&D division, the poor stepchild of main Product Engineering. I don’t remember the details of how it came to pass, but it must have been worked at the executive level, probably Cliff Duncan. My new boss, Dick Kee, certainly didn’t want me. What I hadn’t known was that when Polaroid TechPhoto bought Image Resource, Engineering was supposedly working on a similar concept, and they were sure I had given Image Resource secret Polaroid technology. Seriously?? I didn’t know anything about what Polaroid Engineering was working on. They were the most secretive organization on earth.
I had always been an individual contributor, but now I was getting paid too much for that. I became an engineering manager even though I had no background in electrical engineering (or managing). Whatever I had done in the past was entirely self-taught, so to be honest, I was not qualified for the job. In short order, two of the engineers I inherited quit. You might say I was not off to a good start.
But in the race to create an electronic still camera, neither was Polaroid. The first appearance of solid state imaging chips, called charge-coupled devices (CCDs)[14], was in 1974, when Fairchild created a 100×100 pixel array.
[14] CCDs were invented in 1969 by Willard Boyle and George Smith of Bell Labs, for which they won the 2009 Nobel Prize in Physics.
Eastman Kodak got hold of one and tasked a young engineer, Steve Sasson, to do something with it. From his Wikipedia page:
Steven Sasson invented the first self-contained digital camera at Eastman Kodak in 1975. It weighed 8 pounds (3.6 kg) and had only 100 × 100 resolution (0.01 megapixels). The image was recorded onto a cassette tape and this process took 23 seconds. His camera took images in black-and-white. As he set out on his design project, what he envisioned for the future was a camera without mechanical moving parts (although his device did have moving parts, such as the tape drive).
Sasson’s patent claimed an arrangement that allowed the CCD to be read out quickly (“in real time”) into a temporary buffer of random-access memory, and then written to storage at the lower speed of the storage device; essentially all modern digital cameras still use such an arrangement. His was not the first camera that produced digital images, but was the first hand-held digital camera.
Today, whenever you see in the media stories about “where did Kodak go wrong?” there is a picture of Steve Sasson and his digital camera. Kodak had the future in its hands and did nothing with it. To call Sasson’s device “hand-held”, though, is extremely generous. Kodak kept the device a closely guarded secret for a decade or more.

More worrisome to Polaroid was the Sony Mavica, a commercially available electronic camera which appeared in 1981.
On August 25, 1981, at a packed conference in Tokyo, Sony unveiled a prototype of the company’s first still video camera, the Mavica (Magnetic Video Camera). It recorded images on two-inch floppy disks and played them back on a TV set or Video monitor. The Mavica was not a digital camera, but a TV camera capable of writing TV quality stills onto magnetic disks, with a shutter that would allow it to freeze frames within the limits set by twin-field interlace making up the complete frame. The Mavica was a single lens reflex with interchangeable lenses… CCD size was 570 x 490 pixels on a 10mm x 12mm chip. F/stop was controlled manually according to lighted arrows that appeared in the viewfinder. Light sensitivity was rated at ISO 200. The original Mavica had only one shutter speed, 1/60th second. Each image was recorded in its own single circle on the floppy disk that Sony called the “Mavipak.” Up to fifty color photos could be stored on one Mavipak… Images were displayed on a television set and were considered to be equal in quality to the maximum capability of a TV set of that time.
— from digicamhistory.com

Now it was 1983, and Polaroid was starting from zero.
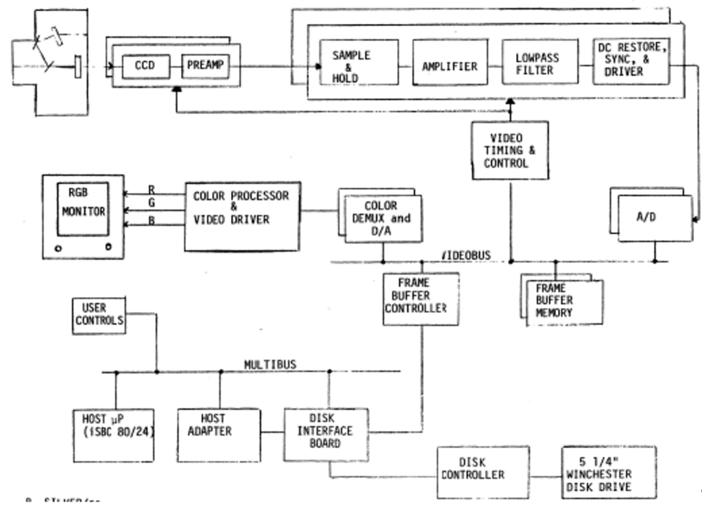
My part of the effort was called the Electronic Camera Simulator, affectionately known as the Shoebox. It looked a lot like Sasson’s device of eight years earlier. This was a prototype system to simulate the functional operation of a future electronic still camera product. It would have the target data rate, capacity, and image quality, but was not bound by product design constraints such as size, cost, and power drain. My team’s emphasis was not component design, which was the responsibility of others, but rather overall system design:
- Timing and control – image capture and disk recording required different data rates
- Frame buffer to disk transfer
- Color multiplexing and decoding – we would need multiple CCDs for color
- User interface
The basic components were a 2-chip CCD video camera in a handheld housing, a frame buffer (digital capture of a freeze frame), a computer hard drive, and a single-board microcomputer. The user interface would emphasize simplicity, always a must at Polaroid: one button (freeze/unfreeze) on the camera, three buttons (save, review, and erase) off camera.



Initially the device was a single CCD, black-and-white. Unlike Sony Mavica, we didn’t have enough pixels to do color on one chip. Ours would take two black-and-white CCDs from Texas Instruments, each 390×292 pixels. One CCD would have a filter with alternating red and blue stripes, and the other would have a green filter. The striped filter would have to be precisely located and bonded to the CCD. We would need beam-splitting optics, and the two CCD images would have to be precisely aligned and mixed in the electronics.
There was a second problem: We needed to see a preview of the captured still frame in the viewfinder, just enough data to check focus, exposure, and picture content. That would require modifying the architecture, adding a mini-frame buffer to drive the viewfinder.
A better way to solve that problem would be a special CCD chip with two sections viewing the same scene, a high-resolution section that would be read out slowly into high-capacity storage and a low-resolution section driving a video viewfinder. We didn’t have such a chip, but I filed a patent on it anyway in 1985, and it was awarded in 1987. I had previously gotten a patent on something very simple, a method of communicating button pushes on the Polavision camera. That one was stupid, but I was proud of the new one.

I was able to hire some really good engineers and we made excellent progress. My boss Dick Kee, however, kept wanting us to slow down. It was a constant source of conflict. My team was moving fast, but the other parts of the program were bogged down. I was still in Land mode, go-go-go, but Kee thought it made him look bad.
I don’t remember the specific issue now, but there was something that he didn’t want my team to go ahead and do, and I did it anyway. For that he did something – reassigned one of my guys, or maybe me, I don’t remember – that drove me to the breaking point. I went to the AVP, Hugh Mackenzie, and asked to be put under a different manager, either that or I was gone. He couldn’t do it.
While I was in Polaroid Engineering – overall an unhappy time – one very good thing happened. In 1984, Polaroid sent me to the Technology Managers Program at Babson College in Wellesley, a 2-month mini-MBA program. We read and discussed “cases” like at Harvard Business School. I learned how to understand an income statement, balance sheet, and cash flow statement, something that in time would be of great help. That was a great experience.
But in 1985, I had rolled the dice and lost. I would have to find another job. I was 36 years old.
